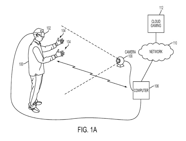
Ancora poco si sa di PlayStation VR, il visore di realtà virtuale che Sony sta producendo e ultimando, e che si andrà ad integrare a PS4. Mentre la data d’uscita e il prezzo verranno quasi certamente rivelati il prossimo mese, oggi emergono nuovi dettagli in merito ad un nuovo brevetto depositato direttamente da Sony: un guanto per il visore.
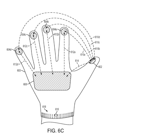
Sappiamo che PS VR supporterà PlayStation Move, ma a quanto pare, dai nuovi brevetti che sono emersi, Sony sta pensando anche ad un guanto che possa essere utilizzato come controller. Dalle immagini che sono trapelate, che potete vedere sotto, appare chiaro come questo presunto guanto possa captare le posizioni delle dita fatte con la mano, per trasmetterli direttamente al sistema centrale, e sia dotato di un sensore di contatto.




Scrivi un commento