Home Videogiochi News Microsoft pronta a creare dispositivi in stile Amiibo?

Microsoft pronta a creare dispositivi in stile Amiibo?

533

Gli Amiibo, statuette interattive create da Nintendo, sin dalla loro uscita hanno riscosso un successo enorme e sembra che un altro colosso del mondo videoludico (ed informatico) sia pronto a lanciare la propria versione di disbrevettomicrosoftpositivi.

Stiamo parlando di Microsoft, che a quanto pare voglia investire dei dispositivi, basati sui personaggi di successo dei titoli Xbox.

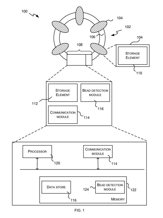
Secondo la fonte Techinsider, l’azienda americana ha depositato il brevetto per questi nuovi device ad aprile, per poi essere pubblicato il 17 Settembre scorso. Però, invece di realizzare delle vere e proprie action figure interattive, come quelle Nintendo o Activision con i suoi Skylanders, la casa di Redmond punterebbe a creare una sorta di “braccialetti ed accessori intelligenti” (collegabili con due o più sfere tecnologicamente avanzate).

Quest’ultimi avranno un proprio ID e potranno memorizzare diversi dati, interagiranno con un piedistallo ed ovviamente comunicheranno con la console ed il software su cui saranno disponibili.

Magari vedremo un braccialetto brandizzato Halo che potrà farci interagire con Master Chief, sarebbe una cosa interessante.

Che ne dite?

Scritto da
Matteo "bovo88" Bovolenta

Appassionato di videogiochi e console di ogni tipo, tecnologia ed informatica. Amante dei manga ed anime giapponesi, e della cultura nipponica in generale. Ha iniziato a videogiocare molto giovane prima con SNES e Game Boy, per poi passare a PlayStation. Da allora ogni genere di gioco lo ha sempre affascinato. Gli piace informarsi e tenere informati su questo fantastico mondo virtuale.

Scrivi un commento

Lascia un commento

Il tuo indirizzo email non sarà pubblicato. I campi obbligatori sono contrassegnati *

Articoli correlati

Un nuovo evento Xbox Partner Preview è in arrivo questa settimana: data e giochi

A sorpresa, Microsoft ha annunciato l’arrivo di un nuovissimo evento Xbox Partner...

Xbox perde un’altra dirigente: la responsabile delle relazioni con le terze parti

Lori Wright, corporate vice president di Microsoft e Xbox, si prepara a...

Microsoft porta l’Auto Super Resolution su ROG Xbox Ally X: più fluidità nei giochi grazie all’IA

Buone notizie per i videogiocatori che utilizzano ROG Xbox Ally X: Microsoft...

Microsoft sta per portare l’emulazione di Xbox e Xbox 360 su PC?

Una notizia potenzialmente straordinaria per tutti gli amanti del retrogaming – sì,...

Chi siamo - Contatti - Collabora - Privacy - Uagna.it © 2011-2025 P.I. 02405950425